新浪军事 军事深度

美军测试新型空中加油锥套 借鉴手机发光数据线概念

新浪军事

关注

目前许多人已经为自己的手机配上了最新的发光数据线,也就是在数据线端口上增加了一圈LED微光指示灯,这样能方便用户在黑暗环境中准确插入手机接口。这种数据线的确很实用,解决了广大床上手机族晚上给手机充电时需要开灯的世界性难题。

无独有偶,战斗机的软管-锥套式夜间空中加油也面临着类似难题。

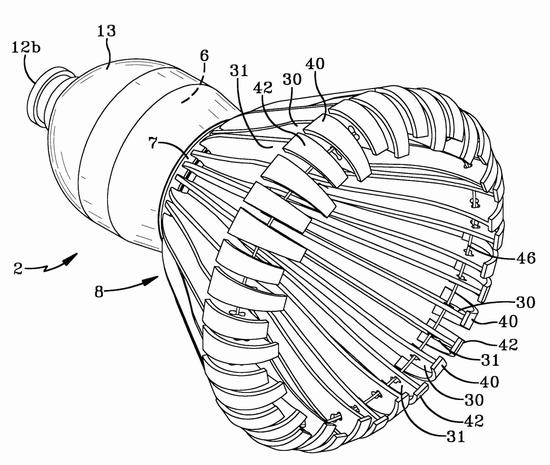
软管-锥套式空中加油是美国海军和大多数其它国家空军普遍采用空中加油技术,加油机通过绞盘放出一根20-30米的软管,软管末端有一个形似减速伞的锥套,受油机激动道加油机后下方适当位置,把受油管插入锥套,两者自动锁定后就开始传输加油。

由于软管和锥套会在加油机尾涡流场及大气紊流下会产生无规则漂摆,所以这种空中加油方式对受油机飞行员的操纵技术要求较高。

受油机飞行员需要与加油机密集编队,紧紧跟在锥套后方,最后抓住机会实施对接。白天尚且如此,夜间空中加油难度就更大了,只能通过夜视镜或受油机上的空中加油照明灯来寻找在空中乱晃的锥套。所以夜间空中加油的成功率不高,有时甚至会因对接失败,锥套被受油机加油管扯断或戳破而导致发动机吸入异物,造成事故。

为了降低夜间空中加油的危险,美国海军近日开始测试英国Cobham公司研制的新型锥套系统,全名为低外来异物损伤(Low FOD)锥套。

与传统锥套相比,Low FOD具有两大改进:

1、借鉴手机发光数据线概念,锥套本身在夜间空中加油时能发出低亮度绿色绿色灯光,便于受油机飞行员目视定位和对接。此外,Cobham空中加油吊舱末端也增加了黄色指示灯光,为加油机飞行员提供目视参照物。

2、以往锥套使用780片铝合金骨架和环绕骨架末端的织物减速伞组成,形似羽毛球,在遭到破坏时会产生大量碎片,被受油机发动机吸入后会导致飞行事故。而且这种锥套结构复杂,维护和维修成本较高。

Low  FOD锥套则大大降低了结构复杂性以尽量减少零件数量,采用高分子量塑料材料制造骨架,并在内侧增加了一层网状结构,即使对接失败,受油机的加油管也不会戳破锥套,大大提高了安全性。退一步说,万一Low  FOD锥套破裂解体,其塑料材料对发动机造成的破坏也将低于铝合金。

美国海军对这种锥套寄予厚望,称其装备部队后能改善舰载加油机的备战率和完好率,并显着降低锥套的维护工时。(作者署名:空军之翼 阿姆斯壮)

   本栏目所有文章目的在于传递更多信息,并不代表本网赞同其观点和对其真实性负责。凡本网注明版权所有的作品,版权均属于新浪网,凡署名作者的,版权则属原作者或出版人所有,未经本网或作者授权不得转载、摘编或利用其它方式使用上述作品。

新浪军事:最多军迷首选的军事门户!

加载中...